重庆最大民营P2P平台又出事
重庆最大民营P2P平台再曝兑付危机,涉及金额上亿
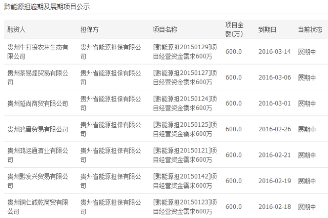
21世纪经济报道记者多方核实获悉,贵州省能源担保有限公司在重庆易九金融服务有限公司(下称“易九金融”)已融资成功的57期在保项目出现风险,涉及担保本金金额共2.8384亿元。但易九金融官网显示,截至目前,已有27期在保项目出现逾期,涉及金额1.296亿元。

图片来自:网贷之家

图片来自:网贷之家
21世纪经济报道记者从多位投资人处了解到,早在今年2月底,贵州省能源担保有限公司在易九金融已融资成功的“黔能源担20150123、20150142、20150121项目”出现逾期,其后,贵州省能源担保有限公司发布公告称,到期项目在不能正常还款的情况下将比例代偿资金汇入易九金融的既定账号,然后由平台方操作转入各个投资人的个人账户,并称未来也将按照上述操作方案兑付。
据投资人提供的“3月29日《补充协议》”显示,贵州省能源担保有限公司在易九金融已融资成功的57期在保项目已出现或预计出现风险,涉及担保本金金额共计2.8384亿元,贵州省能源担保有限公司确认,对前述57期产品在到期后出现投资接受人不能按时还款时,均应承担无条件代偿责任,并按分期分步方式承担代偿责任。
但是,5月初,贵州省能源担保有限公司出现未按《补充协议》履约情况。
5月3日,易九金融发布公告,“黔能源担20160003项目”于2016年4月12日到期,根据债权人与贵州省能源担保有限公司达成的《补充协议》约定,担保公司在2016年4月15日代偿了首期款本金和利息共计133.5万元;2016年5月3日应代偿该项目第二期款本金和利息共计:55.45万元。但是担保公司未按约定将第二期代偿款项还给该项目债权人。
据投资人提供的“5月9日贵州省能源担保有限公司与易九金融协商会会议纪要”文件显示,当日在贵州省能源担保有限公司,包括贵州省金融办负责人、重庆市金融办负责人、贵州省能源担保有限公司董事长杜晋、重庆易九金融总经理陈林、投资人代表等进行了协商,表示在《补充协议》继续有效的前提下,双方达成一致意见。
内容包括:1、贵州省能源担保有限公司在三个月内(2016年8月1日前),筹集1.25亿元用于易九平台上项目代偿,在15天内落实一家国有担保或二家资信能力强的民营担保公司进行再担保,由贵州省金融办对担保公司资质进行把关;2、贵州省能源担保有限公司三日内将价值三千万抵押物清单(进入保全阶段的,并经省金融办审查)带至重庆,并承诺上述资产处置后优先用于易九平台上项目代偿;3、同时通过处置由金融办审核的不良资产、加强催收力度,积极筹集资金用于为易九平台上项目代偿;4、如在一年内无法完全清偿的,由上市公司承担连带清偿责任。
不过,投资人表示,后来并未达成一致意见,双方主要分歧在于担保公司选择以及还款方式的最终确定上。
因此,据易九金融公告显示,贵州省能源担保有限公司董事长杜晋、副总经理黄鹏、贵州省金融办保险处人员,5月11日下午到达易九金融与部分投资人进行了磋商。5月12日上午,继续与投资人磋商还款细节事项。并称,由于方案不同,各期还款的保证条款和还款比例可能不同,请各位投资人来易九金融办公室与对方直接商谈。
但投资人也表示,目前还未确定最终方案。

易九金融官网截图:

易九金融官网截图:

易九金融官网截图: 易九金融“意外踩雷”并非首次
值得注意的是,易九金融因合作的担保公司出事而“意外踩雷”的事件并非首次。早在今年春节期间,易九金融因河北融投担保集团债务违约,几十名受害投资者出现在公司年会现场现场抗议维权。
据报道,截至2015年12月1日,河北融投在易九金融平台的在保余额为5960万元,在保企业8家。2016年1月是河北融投担保的企业集中还款的月份,涉及1000多投资人,其中有不少重庆、上海、北京地区的客户。
“易九金融在2015年4月就已经知道河北融投可能存在风险,但该平台仍然通过互联网继续发售融资产品,吸纳进更多的投资者受骗上当。”一位不愿意具名的投资者接受媒体采访时表示。
在投资人“搅局”公司年会现场后,易九金融连夜发布声明,首次正面回应关于河北融投担保项目违约情况,披露最新维权进展称:首单违约诉讼已成功在石家庄鹿泉区法院立案。
对于投资者的质疑,易九金融的声明并没有正面回应。
不过,易九金融在声明中强调,该公司经营中一贯坚持网络借贷信息中介业务定位,绝无触碰“非法集资”、“设立资金池”、“自融自保”等政策红线的情况,并严格按照《关于促进互联网金融健康发展的指导意见》和重庆市《关于加强个体网络借贷风险防控工作的通知》的有关规定,依法依规开展业务。
公开资料显示,易九金融于2013年6月9日在重庆设立,注册资本金为3000万元,股东三位,分别是熊新祥控制的重庆易一天使投资有限公司、自然人股东陈林和自然人股东张鹏。
据报道,易九金融一炮而红在于首创由国有担保公司所属子公司担保其产品。2013年11月底,重庆某大型国有担保集团及其控股公司联合重庆易九金融公司的网络营运平台,推出了互联网金融产品。但双方在易九金融的控制权上有不同看法,随后合作终止。事后,这样的模式和做法仍在持续。
责任编辑:孙岩














